Mazda xin cấp bằng sáng chế cho động cơ mới
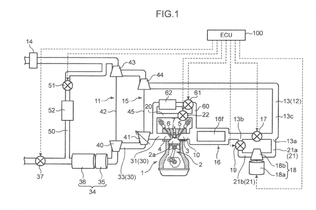
Bằng sáng chế mới được Cơ Quan Sáng Chế và Nhãn Hiệu Hoa Kỳ công bố cho thấy thế hệ động cơ mới của Mazda sẽ được trang bị tăng áp kép cùng bộ siêu nạp chạy bằng điện. Khí thải từ cổ xả sẽ được chia đôi để chạy 2 tua-bin tăng áp, cùng với đó là một siêu nạp chạy bằng điện sẽ được lắp đặt song song.
Trong bằng sáng chế còn trình bày kỹ về bộ siêu nạp chạy điện này sẽ tăng khả năng nạp tại vòng tua thấp, khi khí thải chưa đủ mạnh để làm quay tua-bin tăng áp. Kết cấu này khá giống phiên bản động cơ 4 xy-lanh dung tích 2.0L cho công suất cực đại đạt 450 mã lực do Volvo phát triển trước đây.
Tuy nhiên, động cơ của Volvo đi kèm một hệ thống điện bao gồm pin và motor 48V để chạy bộ phận siêu nạp và có lẽ Mazda sẽ làm theo cách khác. Một vài nguồn tin cho biết, nhiều khả năng bộ phận siêu nạp trên Mazda sẽ sử dụng năng lượng từ hệ thống thu hồi và tái tạo năng lượng phanh i-Eloop do chính hãng này phát triển.
Thú vị hơn là trong bằng sáng chế có ghi động cơ được sử dụng cho xe dẫn động cầu sau, và Mazda hiện tại chỉ còn chiếc MX-5 Miata. Nhưng vẫn không thể đưa ra kết luận chiếc MX-5 sẽ được trang bị động cơ này bởi mọi thông tin vẫn chưa được công bố chính thức.
Ngoài ra, đầu tháng này, Mazda vừa công bố kế hoạch đến năm 2019 sẽ sản xuất động cơ Skyactiv-X không cần sử dụng bugi để đánh lửa mà áp dụng sức nén để kích nổ - giống như cơ cấu hoạt động của động cơ Diesel.
Nguồn: otoxemay
Carmudi Vietnam











