Chiếc cần gạt nước tưởng đơn giản nay được Tesla đưa ứng dụng công nghệ tàu đệm vào
Có lẽ cần gạt nước là bộ phận ít được các nhà sản xuất đầu tư đổi mới nhất. Nếu có đổi mới thì chỉ là những công nghệ đi kèm để trang bị này trở nên thông minh và ít cản trở tầm nhìn hơn.
Nhưng mới đây, với sáng chế mới được Tesla đăng ký, một cuộc cách mạng công nghệ sẽ nổ ra trên chính chiếc cần gạt trên kính chắn gió. Công bố vào hôm 5/9, sáng chế của Tesla được mô tả là hệ thống cần gạt điện từ dành cho kính chắn gió của xe hơi.

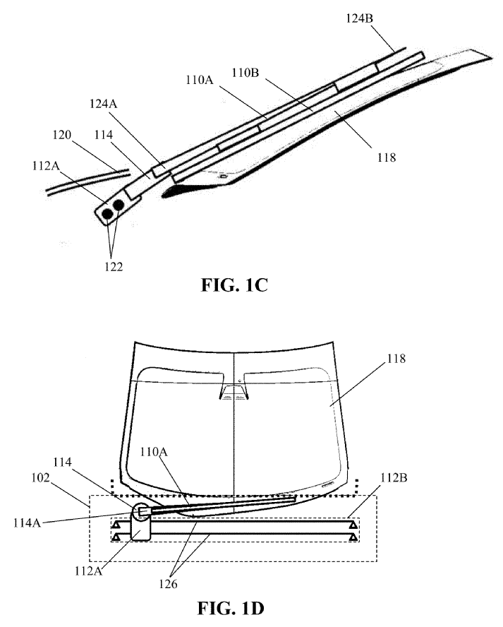
Như bản phác thảo cho thấy, đây là một thiết kế cần gạt đơn, được tuyên bố là có hiệu quả hoạt động và cho tầm nhìn tốt hơn. Nhưng nếu dựa vào bản vẽ, hệ thống này có thể tương thích với cấu hình gạt đôi. Nó hoạt động nhờ các nam châm điện và các thanh ray với nguyên lý tương tự như tàu cao tốc đệm từ Maglev. Tất nhiên là quy mô của hệ thống này nhỏ hơn rất nhiều.

Điểm đặc biệt trong bản thiết kế của Tesla là gì? Đó là tay đòn của cần gạt được bắt vào hai thanh ray để cố định và đảm bảo phần lưỡi chùi tiếp xúc với mặt kính. Còn phần chuôi của cần gạt được gắn với một khối nhỏ, chính là bộ phận tương tác điện từ. Khối nhỏ này di chuyển khi có dòng điện đi qua và kéo theo cần gạt.

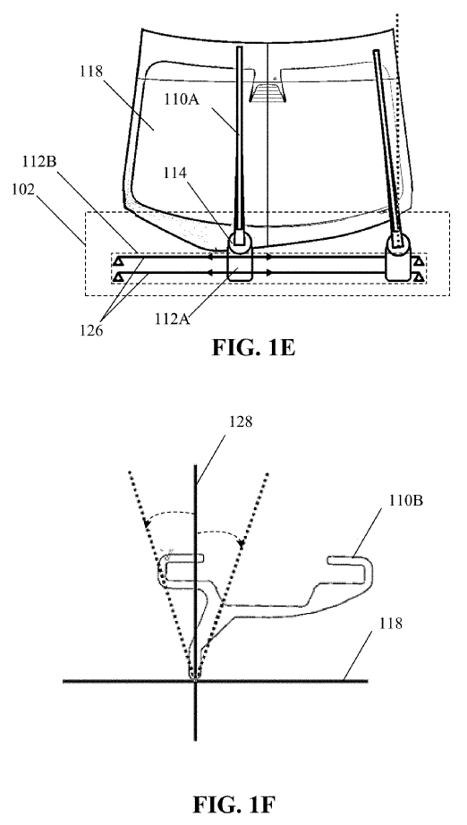
Để giảm thiểu tối đa ảnh hưởng của ma-sát so với hệ thống cơ khí truyền thống, sáng chế của Tesla tạo ra lực ma-sát ở một nơi duy nhất là thanh ray, nơi mà tay đòn trượt qua. Nhờ đó, hệ thống này sẽ tiêu tốn ít năng lượng hơn.
Theo Cafeauto.vn











